优点
1.发动机工作范围都相同,加速时便于操纵;
2.各挡工作所对应的发动机功率都较大,有利于汽车动力性;
3.便于和副变速器结合,构成更多挡位的变速器。
各挡传动比
挡位数多,对汽车动力性和燃油经济性都有利。
1.动力性:挡位数多,增加了发动机发挥最大功率附近高功率的机会,提高了汽车的加速和爬坡能力。
2.燃油经济性:挡位数多,增加了发动机在低燃油消耗率转速区工作的可能性,降低了油耗。
3.比功率大→挡位数少(阻力靠后备功率克服)。
4.比功率小→挡位数多(阻力靠变换挡位克服)。
5.重型货车和越野汽车使用中,载质量变化大大,路面条件复杂,挡数较多。
最小传动比
驾驶性能是指加速性、动力装置的转矩响应、噪声和振动。
1.大排量发动机提供较大、较快、较平稳的转矩响应。前置前驱动传动系转矩响应较前置后驱动好。
2.最小传动比过小,汽车在重负荷下工作,加速性不好,出现噪声和振动。
3.最小传动比过大,燃油经济性差,发动机高速运转的噪声大。
最大传动比
1.最大传动比是汽车为1档时传动系的总传动比,因主减速器传动比是固定的,通常汽车没有分动器和轮边减速器,因此,只要确定1档传动比即可。
2.最大爬坡度、1档动力因数、附着力和汽车最小稳定车速是最大传动比的制约因素。
概述
当采用机械减速器时,我们将电动机的额定转速n(r/min)与减速器输出轴的转速n的比值称为速比I(亦称为传动比),i=n/n。

当电动机采用其他变速手段,如变频调速、转差调速等,把电动机的最大速度与最小速度的比值称为速比,表示调速范围的大小。
齿轮速比
变速齿轮基本上是一组布置在一个圆内的杠杆。通过齿轮中齿的数目和大小的差异来增力。
所以输出300英尺-磅扭矩的发动机可以驱动一个3,000.磅的汽车。这就是传动齿轮速比 的作用。速比是一个反映啮合齿轮的齿数差异的术语。同一尺寸齿轮=1:1速比例如:
两齿轮大小一样,齿数也相同。主动齿轮每转一圈,从动齿轮也转一圈。两个齿轮以同一速度转动,由于大小相同齿数相同,因此转动扭矩也相同。其间的唯一差别是转动方向相反。同大小同齿数的齿轮啮合,速比为1比1,因为从动齿轮每转一圈主动齿轮也转一圈。速比通常采用数字之间夹一冒号的形式,这样1比1的速比写作1:1。
当主动齿轮比从动齿轮小时,从动齿轮转得比主动齿轮慢,齿轮副起减速作用。12齿的小齿轮驱动24齿的大齿轮。12齿主动齿轮以10磅扭矩转动。但是24齿从动齿轮每转一圈它要转两圈。这样从动齿轮的转动扭矩便多了一倍。此时从动齿轮的扭矩为20磅。减速比为2:1。某种典型的手动变速器各档速比示例:
倒档:3.40:1
一档:3.97:1
二档:2.34:1
三档:1.46:1
四档:1.00:1
可以看到,1至3档和倒档都是减速档。四档为1:1,意味着主从动齿轮齿数相同转速相同,称为直接档。
如果发动机可生成300磅扭矩,配接10:1速比的传动系,结果加在车轮上的扭矩为3000磅,恰是驱动3000磅汽车所需的力量。
不过,减速比是有代价的。主动齿轮的转速要比从动齿轮高出许多倍。因而6000转/分的发动机只能以600转/分的速度驱动10:1速比的传动系。
不过汽车动起来后,保持速度所需的扭矩就不必象起动时所需的那么大了。这样就可以改变速比来加大转速。这就是为什么手动变速器有好几个档位。
计算方法
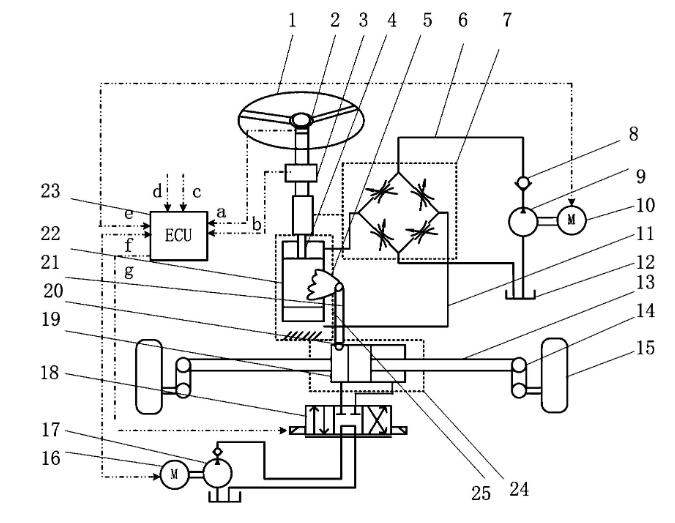
车速表由车速传感器(安装在车轮上变速箱蜗轮组件的蜗杆上,有光电耦合式和磁电式)、微机处理系统和显示器组成。由传感器传来的光电脉冲或磁电脉冲信号,经仪表内部的微机处理后,可在显示屏上显示车速。里程表则根据车速以及累计运行时间,由微机处理计算并显示里程。
组合仪表速比的计算方法
(一)速比的定义
对机械式或传感器安装在变速嚣上的蜗轮组件的车速表来说,所指示车速与变速器蜗杆的转速之比即为速比。例如,车速表上的读数为60Km/h之时,变速器蜗杆的转速为36000r/h,则仪表速比为60:3600=1:600。也就是说,当车速表上的读数显示为lKm/h之时,变速箱蜗杆的转速必须为600r/h。
(二)求组合仪表的理论速比
理想状态下,即车速表上显示的读数与实测速度相等的情况下,所计算出来的速比称为理论速比,其计算公式为,K为理论速比,k为后桥主减速比,k为变速箱蜗轮组件的传动比,r为轮胎的滚动半径。以下举一个例子来说明如何计算组合仪表的理论速比:某轿车相关参数为:后桥主减速比5.125,变速箱蜗轮组件的传动比(即蜗轮转速与蜗杆转速之间的比值)14/3,轮胎型号为165r70R13LT8PR90/88Q。查《汽车标准汇编第五卷转向车轮其它》中的《GB/T2978-1997轿车轮胎系列》得轮胎滚动半径273mm=o.273m。代入公式计算得K=1:640.6,该速比即为所求的理论速比。
