32类泉城商标持有人是谁?

新农商网 全部 1019

32类泉城商标持有人是谁?

回复

共1条回复 我来回复
  • 恩辉知识产权
    恩辉知识产权
    这个人很懒,什么都没有留下~
    评论

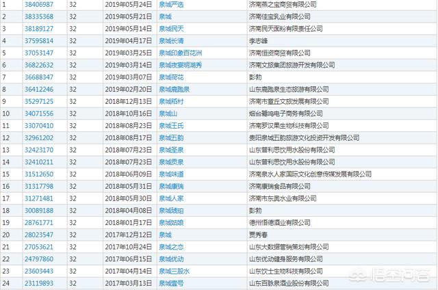
    以“32类”+“泉城”作为搜索条件,在中国商标网查询到46条信息,如下图:

    而仅以“泉城”二字为商标的共有6个,详见图片!

    有商标专利和版权相关业务的朋友可以私信给我哦!5个商标以内的商标查询免费哦!

    2019-06-21 10:17:05 0条评论